SD_img_01psd.png
SD-Q-LQ

SD_img_07psd.png
Circular diffuser face

Circular diffuser face

SD_img_01psd.png
SD_img_07psd.png

SD

For installation into steps and floor areas with no foot traffic

Circular and square staircase swirl diffusers

  • Nominal size 180 mm
  • Volume flow rate range 10 – 25 l/s or 36 – 90 m³/h
  • Diffuser face made of sheet steel, powder-coated
  • For variable and constant volume flows
  • For false floors and positive pressure plenums
  • Installation into the risers of steps or into horizontal or sloping floor areas which do not carry foot traffic
  • High induction results in a rapid reduction of the temperature difference and airflow velocity
  • Low sound power level due to optimised air distribution inside the diffuser


Optional equipment and accessories

  • Exposed diffuser face available in RAL CLASSIC colours
  • Spigot
  • Cross bar

Allgemeine Informationen



Application

  • Type SD staircase swirl diffusers are primarily used as supply air diffusers for comfort conditioning applications
  • For auditoriums in theatres, cinemas or concert halls
  • Supply air discharge directly to the occupied zone
  • Swirling air discharge, either parallel to the installation surface or angled, for mixed flow ventilation
  • The efficient swirl creates high induction levels, thereby rapidly reducing the temperature difference and airflow velocity (supply air variant)
  • For variable and constant volume flows
  • For supply air to room air temperature differences from –6 to +6 K
  • For false floors and positive pressure plenums
  • Installation into the risers of steps or into horizontal or sloping floor areas which do not carry foot traffic


Special characteristics

  • High induction results in a rapid reduction of the temperature difference and airflow velocity
  • Air discharge either parallel to the installation surface or angled
  • Excellent air quality since the supply air is discharged directly to the occupied zone
  • Installation into the risers of steps and into floor areas which do not carry foot traffic


Nominal sizes

  • 180


Variants

  • SD-Q-LQ: Square diffuser face, square face style
  • SD-Q-LR: Square diffuser face, circular face style
  • SD-R-LR: Circular diffuser face, circular face style


Parts and characteristics

  • Square or circular diffuser face with four sections of blades
  • Diffuser face with fixed air control blades
  • Angled air discharge from diffuser fixed to cross bar
  • Air discharge parallel to the installation surface from diffuser fixed to spigot
  • Simple installation of the diffuser face due to central fixing screw with decorative cap


Attachments

  • S: Spigot
  • T: Cross bar

Construction features

  • Spigot suitable for circular air ducts according to DIN EN 1506 or DIN EN 13180

Material and surfaces

  • Diffuser face made of sheet steel
  • Cross bar and spigot made of galvanised sheet steel
  • Spigot dip coated similar to RAL 9005, black
  • Exposed diffuser face powder-coated RAL 9010, pure white
  • P1: Powder-coated, RAL CLASSIC colour


Standards and guidelines

  • Sound power level of the air-regenerated noise measured according to DIN EN ISO 5135

Maintenance

  • Low maintenance as construction and materials are not subject to wear and tear
  • Inspection and cleaning according to VDI 6022

TECHNICAL INFORMATION

Function, Technical Data , Quick Sizing, Specification Text, Order Code

  • Function
  • TECHNICAL DATA 
  • QUICK SIZING
  • SPECIFICATION TEXT
  • ORDER CODE

Staircase swirl diffusers in air conditioning systems create a swirl to supply air to rooms. The resulting airflow induces high levels of room air, thereby rapidly reducing the airflow velocity and the temperature difference between supply air and room air. Staircase swirl diffusers supply the air directly to the occupied zone and even to individual room occupants. The result is mixed flow ventilation for comfort zones and an excellent air quality in the occupied zone.


Type SD staircase swirl diffusers have fixed blades. Different attachments are available to influence the air pattern and adapt it to local requirements. A spigot can be used to achieve air discharge parallel to the installation surface, while a cross bar can be used to achieve angled air discharge. The air pattern should be such that the air does not blow onto the feet of people sitting near the diffuser. If staircase swirl diffusers are placed underneath seats or vertically in the steps between seats, angled air discharge is recommended. If diffusers are placed in the steps below the seats, parallel air discharge is recommended. The supply air to room air temperature difference may range from –6 to +6 K.


 

Quick sizing tables provide a good overview of the volume flow rates and corresponding sound power levels and differential pressures..

SD-Q-LQ-S (supply air), sound power level and total differential pressure

NGqv [l/s]qv [m³/h]

Δpt [Pa]

LWA [dB(A)]

18010368<15
15541824
20723332
25905139

SD-Q-LQ-T (supply air), sound power level and total differential pressure

NGqv [l/s]qv [m³/h]

Δpt [Pa]

LWA [dB(A)]

18010363<15
1554721
20721232
25901940

SD-Q-LR-S, SD-R-LR-S (supply air), sound power level and total differential pressure

NGqv [l/s]qv [m³/h]

Δpt [Pa]

LWA [dB(A)]

18010369<15
15542125
20723834
25905941

SD-Q-LR-T, SD-R-LR-T (supply air), sound power level and total differential pressure

NGqv [l/s]qv [m³/h]

Δpt [Pa]

LWA [dB(A)]

18010364<15
15541025
20721835
25902743

Staircase swirl diffusers with square or circular diffuser face and fixed air control blades for swirling supply air discharge creating high induction levels. For supply air only, for comfort zones. Installation into the vertical parts of steps, or into horizontal or sloping floor areas which do not carry foot traffic
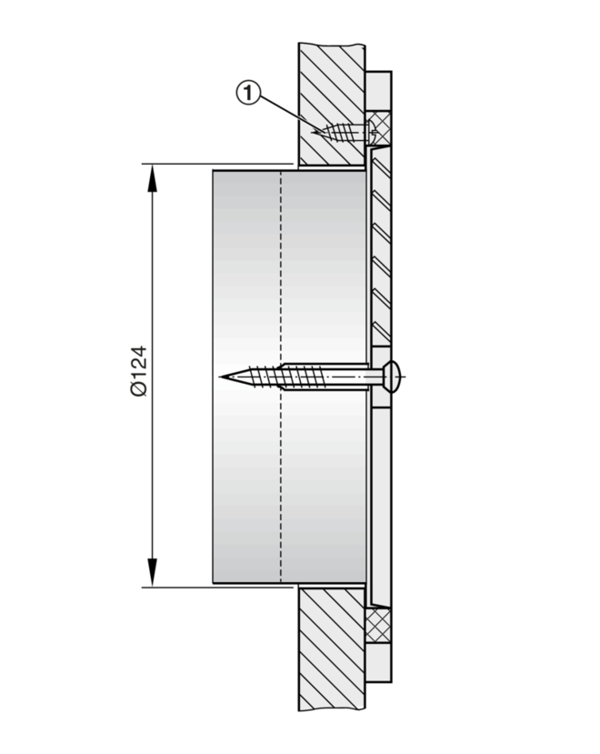
Ready-to-install component, consisting of the diffuser face with fixed air control blades, arranged in quadrants.
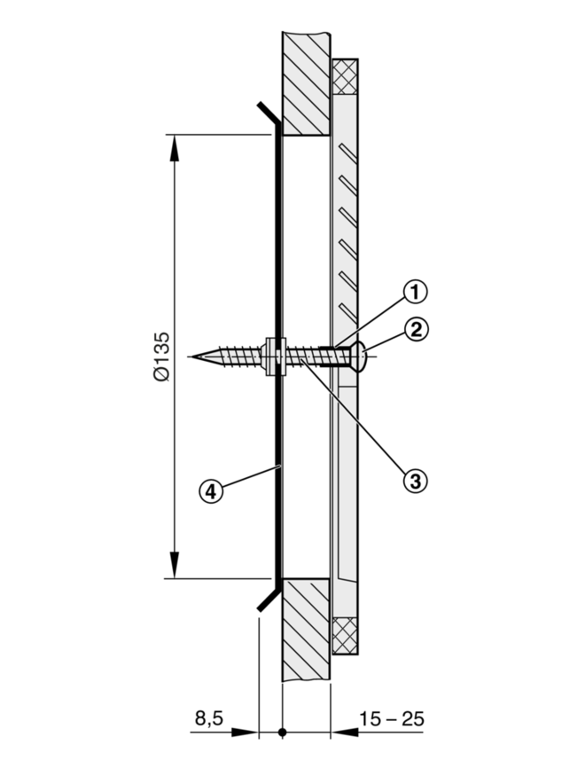
The diffuser face is fixed to a cross bar or to a spigot with a central screw, concealed by a decorative cap.
Spigot, suitable for air ducts according to DIN EN 1506 or DIN EN 13180.
Sound power level of the air-regenerated noise measured according to DIN EN ISO 5135.

Special characteristics

  • High induction results in a rapid reduction of the temperature difference and airflow velocity
  • Air discharge either parallel to the installation surface or angled
  • Excellent air quality since the supply air is discharged directly to the occupied zone
  • Installation into the risers of steps and into floor areas which do not carry foot traffic


Material and surfaces

  • Diffuser face made of sheet steel
  • Cross bar and spigot made of galvanised sheet steel
  • Spigot dip coated similar to RAL 9005, black
  • Exposed diffuser face powder-coated RAL 9010, pure white
  • P1: Powder-coated, RAL CLASSIC colour


Technical data

  • Nominal sizes: 180 mm
  • Minimum volume flow rate: 10 l/s or 36 m³ /h
  • Maximum volume flow rate: 25 l/s or 90 m³ /h
  • Supply air to room air temperature difference: –6 to +6 K


Sizing data

  • qv [m³/h]
  • Δpt [Pa]
Air-regenerated noise
  • LWA [dB(A)]


SDQLQS/180/P1 - RAL 9006
||||||
123456
Type
SD
Staircase swirl diffuser

2 Construction style
Q
Square diffuser face
R Circular diffuser face

3 Diffuser face style
LQ
Square (construction style Q only)
LR circular

4 Fixing
S
With spigot
T With cross bar

5 Nominal size [mm]
180

6 Exposed surface

No entry: powder-coated, RAL 9010 (pure white)
P1 powder-coated, specify RAL CLASSIC colour

Gloss level
RAL 9010 GU 50
RAL 9006 GU 30
All other RAL colours GU 70


Order example: SD-Q-LQ-S/180/P1-RAL9006
TypeSD
Construction styleSquare diffuser face
Perforation patternsquare
Fixingwith spigot
Nominal size [mm]180
Exposed surfacepowder-coated, RAL 9006 (white aluminium)

Variants, Attachments, Dimensions

  • VARIANTS
  • ATTACHMENTS
  • DIMENSIONS


Product details

  • PRODUCT DETAILS

Installation and commissioning

  • Flush installation into vertical, horizontal or sloping surfaces which do not carry foot traffic
  • Installation with cross bar results in angled air discharge
  • Installation with spigot results in parallel air discharge

The schematic diagrams are provided to illustrate installation details.

Downloads

product information

certificates

production {"x-frame-options"=>"SAMEORIGIN", "x-xss-protection"=>"1; mode=block", "x-content-type-options"=>"nosniff", "x-download-options"=>"noopen", "x-permitted-cross-domain-policies"=>"none", "referrer-policy"=>"strict-origin-when-cross-origin", "strict-transport-security"=>"max-age=31536000; includeSubDomains", "content-type"=>"text/html; charset=utf-8"}

Share page

Recommend this page

Recommend this page by sending a link by mail.

Fields marked with an (*) are required fields.

Share page

Thank you for your recommendation!

Your recommendation has been sent and should arrive shortly.

Contact

We are here for you

Please specify your message and type of request
Tel.: +49 (0)2845 / 202-0 | Fax: +49 (0)2845/202-265

Fields marked with an (*) are required fields.

Contact

Thank you for your message!

Your message is send and will be processed shortly.
Our department for Service-Requests will contact you asap.
For general question regarding products or services you can also call:
Tel.: +49 (0)2845 / 202-0 | Fax: +49 (0)2845/202-265

Contact

We are here for you

Please specify your message and type of request
Tel.: +49 (0)2845 / 202-0 | Fax: +49 (0)2845/202-265

Attachment (max. 10MB)

Fields marked with an (*) are required fields.

Contact

Thank you for your message!

Your message is send and will be processed shortly.
Our department for Service-Requests will contact you asap.
For general question regarding products or services you can also call:
Tel.: +49 (0)2845 / 202-0 | Fax: +49 (0)2845/202-265