00132970_0
DLQ/600


00129296_0
With butterfly damper


00129276_0
With connecting frame


00129291_0
With damper blade


00129286_0
With plenum box


00129260_0
Horizontal air discharge


00132970_0
00129296_0
00129276_0
00129291_0
00129286_0
00129260_0

DLQ 

For four-way horizontal supply air discharge, with fixed air control blades – sheet steel diffuser face

Square ceiling diffusers

  • Nominal sizes 250, 300, 400, 500, 600, 625
  • Volume flow rate range 20 – 700 l/s or 72 – 2520 m³/h
  • Square diffuser face
  • Diffuser face made of sheet steel, powder-coated
  • For supply and extract air
  • For variable and constant volume flows
  • For all types of ceiling systems
  • High induction results in a rapid reduction of the temperature difference and airflow velocity


Optional equipment and accessories

  • Exposed diffuser face available in RAL CLASSIC colours
  • Horizontal or vertical duct connection
  • Blanking plates for adjusting the discharge direction
  • Duct cross bar for installation without plenum box
  • Plenum box with cord-operated damper blade and pressure tap

Updating order code
Save configuration
Calculate price
Updating technical data
  • Media
Specification text:
Updating specification text
Show complete text Hide complete text
Initialize order code

Application

Application

  • Type DLQ ceiling diffusers are used as supply air or extract air diffusers for comfort zones
  • Attractive design element for building owners and architects with demanding aesthetic requirements
  • Horizontal four-way supply air discharge for mixed flow ventilation
  • High induction results in a rapid reduction of the temperature difference and airflow velocity (supply air variant)
  • For variable and constant volume flows
  • For supply air to room air temperature differences from –10 to +10 K
  • For room heights up to 4 m (lower edge of suspended ceiling)
  • For all types of ceiling systems

Special characteristics

  • Horizontal four-way supply air discharge
  • Diffuser face made of galvanised sheet steel
  • For all types of ceiling systems
  • Horizontal or vertical duct connection

Nominal sizes

  • 250, 300, 400, 500, 600, 625

Description

Variant

  • Square diffuser face


Connection

  • A: Diffuser face only
  • AR: Vertical duct connection, with connecting frame
  • AG: Vertical duct connection, with blades
  • C: Vertical duct connection with butterfly damper
  • AK: Horizontal duct connection, with plenum box

Parts and characteristics

  • Square diffuser face with fixed air control blades
  • Diffuser front frame
  • Simple installation of the diffuser face due to central fixing screw with decorative cap

Accessories

  • Lip seal

Construction features

  • Spigot suitable for circular ducts to EN 1506 or EN 13180

Materials and surfaces

  • Diffuser face, connecting frame and butterfly damper made of sheet steel
  • AK: Plenum box and cross bar made of galvanised sheet steel
  • X: Plenum box made of plastic and galvanised sheet steel
  • Lip seal made of rubber
  • Attachments are dip coated RAL 9005, jet black
  • Diffuser face powder-coated RAL 9010, pure white
  • P1: Powder-coated, RAL CLASSIC colour

Standards and guidelines

  • Sound power level of the air-regenerated noise measured according to EN ISO 5135

Maintenance

  • Maintenance-free as construction and materials are not subject to wear
  • Inspection and cleaning to VDI 6022

Technical information

Function, Technical data, Quick sizing, Specification text, Order code

  • Function
  • Technical data
  • Quick sizing
  • Specification text
  • Order code

Functional description

Ceiling diffusers direct the air from air conditioning systems into the room. The resulting airflow induces high levels of room air, thereby rapidly reducing the airflow velocity and the temperature difference between supply air and room air. Ceiling diffusers allow for large volume flow rates. The result is a mixed flow ventilation in comfort zones, with good overall room ventilation, creating only very little turbulence in the occupied zone.

Type DLQ ceiling diffusers have fixed blades. Horizontal air discharge is four-way. The supply air to room air temperature difference may range from –10 to +10 K.

To give rooms an aesthetic, uniform look, Type DLQ diffusers may also be used for extract air.

Nominal sizes

250, 300, 400, 500, 600, 625 mm

Minimum volume flow rate

20 – 250 l/s or 72 – 900 m³/h

Maximum volume flow rate, with LWA ≅ 50 dB(A)

575 – 700 l/s or 2070 – 2520 m³/h

Supply air to room air temperature difference

–10 to +10 K


Quick sizing tables provide a good overview of the volume flow rates and corresponding sound power levels and differential pressures.

The maximum volume flow rates apply to a sound power level of approx. 50 dB (A).

Exact values for all parameters can be determined with our Easy Product Finder design programme.

Sizing example

Given data

V = 300 l/s (1280 m3/h)

Square ceiling diffuser, steel, with fixed air control blades

Maximum sound power level 40 dB(A) with damper blade position 45°

Four-way air discharge

Quick sizing

Type DLQ

Nominal sizes: 600, 625

Selected: DLQ/600

DLQ-A, DLQ-AR (supply air), sound power level and total differential pressure

Nominal size V Δpt LWA
Nominal size l/s m³/h Pa dB(A)

250

20

72

3

<15

250

55

198

20

26

250

95

342

59

40

250

130

468

111

50

300

35

126

2

<15

300

95

342

18

24

300

155

558

47

38

300

210

756

87

50

400

75

270

2

<15

400

190

684

13

25

400

310

1116

35

38

400

430

1548

68

50

500

135

486

2

<15

500

295

1062

10

27

500

455

1638

23

39

500

615

2214

43

50

600

220

792

2

15

600

380

1440

8

34

600

535

1980

15

43

600

690

2484

24

50

625

250

900

2

20

625

400

1440

6

34

625

550

1980

12

43

625

700

2520

19

50


DLQ-AK (supply air), sound power level and total differential pressure

Nominal size V Damper blade position
Nominal size V 45° 90°
Nominal size V Δpt LWA Δpt LWA Δpt LWA
Nominal size l/s m³/h Pa dB(A) Pa dB(A) Pa dB(A)

250

20

72

5

<15

5

<15

10

<15

250

35

126

14

22

16

22

31

25

250

60

216

41

38

46

38

92

41

250

90

324

92

51

104

51

208

53

300

35

126

6

9

9

11

20

19

300

70

252

26

30

37

32

81

39

300

100

360

53

41

75

43

165

49

300

135

486

96

51

137

54

301

59

400

75

270

9

13

15

21

33

30

400

130

468

28

31

46

39

98

45

400

185

666

56

42

93

50

198

57

400

235

846

90

50

150

61

319

67

500

135

486

12

16

15

19

48

35

500

210

756

28

32

36

35

116

49

500

285

1026

52

42

66

45

213

58

500

360

1296

83

50

105

53

340

65

600

220

792

12

18

19

26

49

35

600

330

1188

26

32

44

39

111

47

600

440

1584

46

42

78

49

197

57

600

545

1962

71

50

119

58

303

66

625

250

900

14

21

26

33

64

39

625

330

1188

24

31

46

42

111

47

625

410

1476

37

39

70

49

171

55

625

575

2070

74

50

138

61

336

74


Ceiling diffusers with square diffuser face. Supply air and extract air variants for comfort zones. Diffuser face with fixed air control blades for horizontal four-way air discharge. For installation into all types of suspended ceilings.

Ready-to-install component which consists of the galvanised sheet steel diffuser face with fixed air control blades, a diffuser front frame with perimeter seal and connecting frame, opposed action blades, butterfly damper or a plenum box.

Diffuser face suitable for central screw fixing.

Sound power level of the air-regenerated noise measured according to EN ISO 5135.

Special characteristics

  • Horizontal four-way supply air discharge
  • Diffuser face made of galvanised sheet steel
  • For all types of ceiling systems
  • Horizontal or vertical duct connection

Materials and surfaces

  • Diffuser face, connecting frame and butterfly damper made of sheet steel
  • AK: Plenum box and cross bar made of galvanised sheet steel
  • X: Plenum box made of plastic and galvanised sheet steel
  • Lip seal made of rubber
  • Attachments are dip coated RAL 9005, jet black
  • Diffuser face powder-coated RAL 9010, pure white
  • P1: Powder-coated, RAL CLASSIC colour

Technical data

  • Nominal sizes: 250, 300, 400, 500, 600, 625 mm
  • Minimum volume flow rate: 20 – 250 l/s or 72 – 900 m³/h
  • Maximum volume flow rate, with LWA ≅ 50 dB(A): 575 – 700 l/s or 2070 – 2520 m³/h
  • Supply air to room air temperature difference: –10 to +10 K

Sizing data

  • V _______________________ [m³/h]
  • Δpt _______________________ [Pa]

Air-regenerated noise

  • LWA _______________________ [dB(A)]

00100710_0

 Type
DLQ       Ceiling diffuser

 Connection
A       Diffuser face only
AR       Vertical, with connecting frame
AG       Vertical, with blades (not for nominal size 250)
C       Vertical, with butterfly damper
ZH       Horizontal, supply air, with plenum box
AH       Horizontal, extract air, with plenum box

 Damper blade for volume flow rate balancing
       No entry: without damper blade
       Only for connections ZH, AH
M       With damper blade
MN       With cords and pressure tap

 

 Accessories
       No entry: without accessories
L       With lip seal (only with plenum box)

 Nominal size [mm]
250
300
400
500
600
625

 Cross bar
       No entry: without cross bar
E1       With duct cross bar
G1       With standard cross bar

 Exposed surface
       No entry: powder-coated RAL 9010, pure white
P1       Powder-coated, specify RAL CLASSIC colour

       Gloss level
       RAL 9010 50 %
       RAL 9006 30 %
       All other RAL colours 70 %

Order example: DLQ-AK-M-L/500

Connection

Horizontal, with plenum box

Damper blade for volume flow rate balancing

With damper blade

Accessories

With lip seal

Nominal size

500

Exposed surface

RAL 9010, pure white, gloss level 50 %


 

Variants, Dimensions and weight, Product details

  • Variants
  • Dimensions and weight
  • Product details

DLQ-A

Designed for high comfort

Together with renowned designers and architects we have developed ceiling, wall, staircase and floor diffusers and grilles that are not only aesthetic design elements, but also meet demanding ventilation and acoustic requirements.

Variant

  • Ceiling diffuser with square diffuser face

Nominal sizes

  • 250, 300, 400, 500, 600, 625

Parts and characteristics

  • Square diffuser face
  • Simple installation of the diffuser face due to central fixing screw with decorative cap

DLQ-AR

Designed for high comfort

Together with renowned designers and architects we have developed ceiling, wall, staircase and floor diffusers and grilles that are not only aesthetic design elements, but also meet demanding ventilation and acoustic requirements.

Variant

  • Ceiling diffuser with square diffuser face
  • With connecting frame

Nominal sizes

  • 250, 300, 400, 500, 600, 625

Parts and characteristics

  • Square diffuser face
  • Connecting frame for installation of the diffuser into vertical ducts
  • Simple installation of the diffuser face due to central fixing screw with decorative cap

DLQ-C

Designed for high comfort

Together with renowned designers and architects we have developed ceiling, wall, staircase and floor diffusers and grilles that are not only aesthetic design elements, but also meet demanding ventilation and acoustic requirements.

Variant

  • Ceiling diffuser with square diffuser face
  • With connecting frame
  • With butterfly damper

Nominal sizes

  • 250, 300, 400, 500, 600, 625

Parts and characteristics

  • Square diffuser face
  • Connecting frame for installation of the diffuser into vertical ducts
  • Butterfly damper for volume flow rate balancing
  • Simple installation of the diffuser face due to central fixing screw with decorative cap

DLQ-AG

Designed for high comfort

Together with renowned designers and architects we have developed ceiling, wall, staircase and floor diffusers and grilles that are not only aesthetic design elements, but also meet demanding ventilation and acoustic requirements.

Variant

  • Ceiling diffuser with square diffuser face
  • With connecting frame
  • With opposed action blades

Nominal sizes

  • 250, 300, 400, 500, 600, 625

Parts and characteristics

  • Square diffuser face with fixed air control blades
  • Connecting frame for installation of the diffuser into vertical ducts
  • Damper blade for volume flow rate balancing
  • Simple installation of the diffuser face due to central fixing screw with decorative cap

DLQ-AK

Designed for high comfort

Together with renowned designers and architects we have developed ceiling, wall, staircase and floor diffusers and grilles that are not only aesthetic design elements, but also meet demanding ventilation and acoustic requirements.

Variant

  • Ceiling diffuser with square diffuser face
  • With plenum box for horizontal duct connection

Nominal sizes

  • 250, 300, 400, 500, 600, 625

Parts and characteristics

  • Square diffuser face
  • Plenum box for horizontal duct connection
  • Square opening to accommodate the diffuser face
  • Equalising element that ensures a uniform airflow through the diffuser face (supply air variant)
  • Simple installation of the diffuser face due to central fixing screw with decorative cap
  • Damper blade for volume flow rate balancing (optional)
  • Pressure tap and cord-operated damper blade for volume flow rate balancing (optional)
  • Lip seal (optional)

Construction features

  • Spigot suitable for circular ducts to EN 1506 or EN 13180

DLQ-A 00177342_0


DLQ-A

Nominal size
□Q
mm
□Q1
mm
H1
mm
H2
mm
m
kg
250 140 248 13 29 0.8
300 190 298 13 29 1.1
400 290 398 13 29 1.9
500 390 498 13 29 2.8
600 490 598 13 29 4.0
625 515 623 13 29 4.2


DLQ-AR

Nominal size
□Q
mm
□Q1
mm
H1
mm
H2
mm
m
kg
250 143 248 13 52 1.0
300 193 298 13 52 1.4
400 293 398 13 52 2.3
500 393 498 13 52 3.3
600 493 598 13 52 4.6
625 518 623 13 52 4.8


DLQ-C

Nominal size
□Q
mm
□Q1
mm
H1
mm
H2
mm
m
kg
250 143 248 13 52 1.5
300 193 298 13 52 2.1
400 293 398 13 52 3.5
500 393 498 13 52 5.2
600 493 598 13 52 7.4
625 518 623 13 52 7.9


DLQ-AG

Nominal size
□Q
mm
□Q1
mm
H1
mm
H2
mm
m
kg
250 143 248 13 95 1.3
300 193 298 13 95 1.8
400 293 398 13 95 3.1
500 393 498 13 95 4.6
600 493 598 13 95 6.5
625 518 623 13 95 7.2


DLQ-AK

Nominal size
□Q1
mm
H1
mm
□Q3
mm
H3
mm
ØD
mm
A
mm
C
mm
Plenum box
m
kg
250 248 13 216 250 158 139 50 AK-Uni-008 3.0
300 298 13 266 250 158 139 50 AK-Uni-009 3.8
400 398 13 372 295 198 164 50 AK-Uni-002 6.4
500 498 13 476 345 248 189 48 AK-Uni-010 9.4
600 598 13 567 410 313 222 50 AK-Uni-011 13.2
625 623 13 567 410 313 222 50 AK-Uni-011 13.4

Weights apply to the supply air variant


Diffuser face DLQ 00156073_0


DLQ

Nominal size
□Q1
mm
□Q2
mm
Aeff

250 248 198 0.0095
300 298 248 0.0175
400 398 348 0.0370
500 498 448 0.0675
600 598 548 0.1100
625 623 573 0.1230


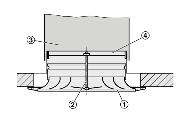
Installation examples, Installation details, Commissioning, Basic information and nomenclature

  • Installation examples
  • Installation details
  • Commissioning
  • Basic information and nomenclature

Installation and commissioning

  • Preferably for rooms with a clear height up to 4.0 m
  • Flush ceiling installation
  • Horizontal or vertical duct connection
  • If necessary, carry out volume flow rate balancing with the damper blade


These are only schematic diagrams to illustrate installation details.

Volume flow rate balancing

When several diffusers are connected to just one volume flow controller, it may be necessary to balance the volume flow rates.

  • Ceiling diffusers with universal plenum box and damper blade (variant -M): The diffuser face can be removed to access the damper blade; the damper blade can then be set to any position between 0 and 90°
  • Ceiling diffusers with universal plenum box, damper blade and pressure tap (variant -MN): The diffuser face need not be removed since the damper blade can be set with two cords (white and green).

Volume flow rate measurement

Ceiling diffusers with universal plenum box, damper blade and pressure tap (variant -MN) allow for volume flow rate balancing even with the diffuser face in place.

  • Connect the measuring tube to the digital manometer
  • Read the effective pressure
  • Read the volume flow rate off the characteristic or calculate it
  • If necessary, adjust the damper blade position with the cords


A characteristic is included with each AK-Uni plenum box.

Principal dimensions

ØD [mm]

Outer diameter of the spigot

ØD₁ [mm]

Outer diameter of a circular diffuser face

ØD₂ [mm]

Diameter of a circular diffuser face style

ØD₃ [mm]

Diameter of a circular plenum box

□Q₁ [mm]

Outer diameter of a square diffuser face

□Q₂ [mm]

Dimensions of a square diffuser face style

□Q₃ [mm]

Dimensions of a square plenum box

H₁ [mm]

Distance (height) from the lower edge of the suspended ceiling to the lower edge of the diffuser face

H₂ [mm]

Height of a ceiling diffuser, from the lower edge of the suspended ceiling to the upper edge of the spigot

H₃ [mm]

Height of a ceiling diffuser with plenum box, from the lower edge of the suspended ceiling to the upper edge of the plenum box or of the spigot

A [mm]

Position of the spigot, defined by the distance of the spigot centre line to the lower edge of the suspended ceiling

C [mm]

Length of the spigot

m [kg]

Weight

Nomenclature

LWA [dB(A)]

A-weighted sound power level of air-regenerated noise

V [m³/h] and [l/s]

Volume flow rate

Δtz [K]

Supply air to room air temperature difference, i.e. supply air temperature minus room temperature

Δpt [Pa]

Total differential pressure

Aeff [m²]

Effective air discharge area


All sound power levels are based on 1 pW.

Downloads

product information

certificates

miscellaneous

production {"x-frame-options"=>"SAMEORIGIN", "x-xss-protection"=>"1; mode=block", "x-content-type-options"=>"nosniff", "x-download-options"=>"noopen", "x-permitted-cross-domain-policies"=>"none", "referrer-policy"=>"strict-origin-when-cross-origin", "strict-transport-security"=>"max-age=31536000; includeSubDomains", "content-type"=>"text/html; charset=utf-8"}

Share page

Recommend this page

Recommend this page by sending a link by mail.

Fields marked with an (*) are required fields.

Share page

Thank you for your recommendation!

Your recommendation has been sent and should arrive shortly.

Contact

We are here for you

Please specify your message and type of request
Tel.: +49 (0)2845 / 202-0 | Fax: +49 (0)2845/202-265

Fields marked with an (*) are required fields.

Contact

Thank you for your message!

Your message is send and will be processed shortly.
Our department for Service-Requests will contact you asap.
For general question regarding products or services you can also call:
Tel.: +49 (0)2845 / 202-0 | Fax: +49 (0)2845/202-265

Contact

We are here for you

Please specify your message and type of request
Tel.: +49 (0)2845 / 202-0 | Fax: +49 (0)2845/202-265

Attachment (max. 10MB)

Fields marked with an (*) are required fields.

Contact

Thank you for your message!

Your message is send and will be processed shortly.
Our department for Service-Requests will contact you asap.
For general question regarding products or services you can also call:
Tel.: +49 (0)2845 / 202-0 | Fax: +49 (0)2845/202-265